Water Pumps WB WB20 WB20XK1 C1 GC01-2000001-8669999 FRAME BED - Nutter Hardware and Rental

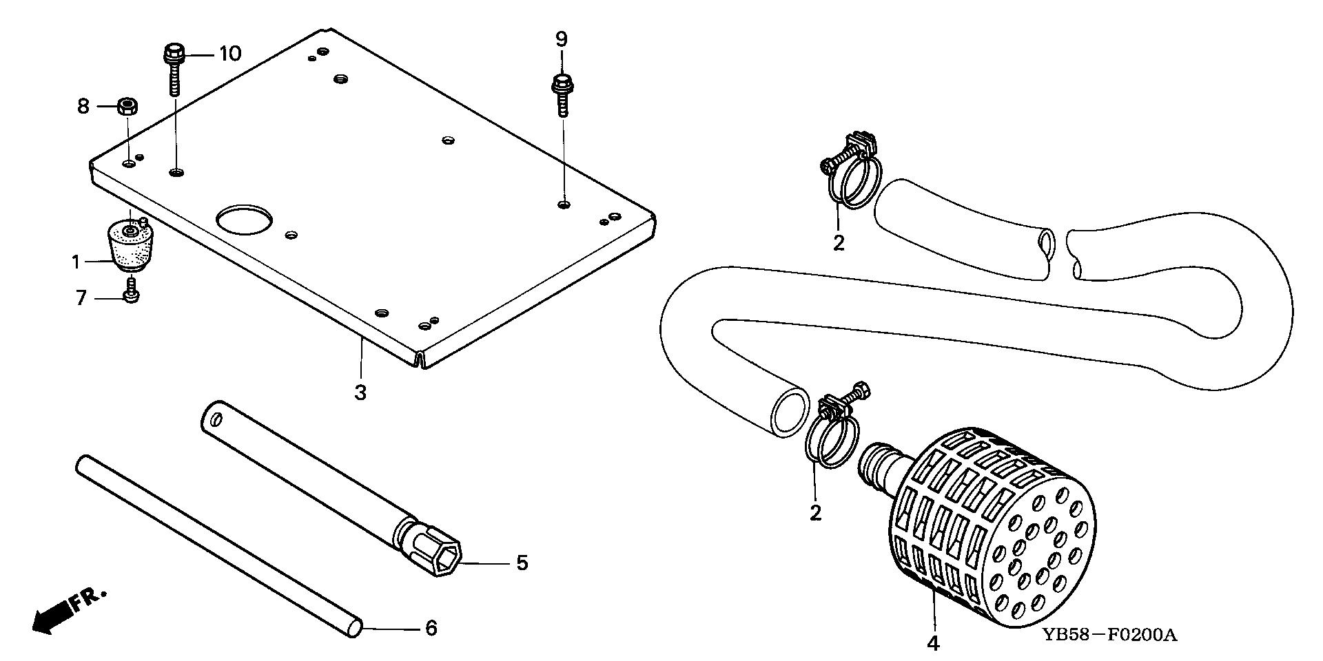
Ref No
Part Number
Description
Serial Range
Qty
Price

Ref No
1
Part Number
60407-812-000
Description
RUBBER (LOWER)
Serial Range
1000001 - 9999999

Ref No
2
Part Number
78139-YB3-000
Description
BAND, HOSE
Serial Range
1000001 - 9999999
Qty
Price
$14.12

Ref No
3
Part Number
78203-YB3-000
Description
BED, FRAME (NOT AVAILABLE)
Serial Range
1000001 - 9999999

Ref No
4
Part Number
78325-YB3-010
Description
STRAINER
Serial Range
1000001 - 9999999
Qty
Price
$47.66

Ref No
5
Part Number
89218-ZE1-000
Description
WRENCH, SPARK PLUG
Serial Range
1000001 - 9999999
Qty
Price
$20.56

Ref No
6
Part Number
89219-805-000
Description
HANDLE, BOX WRENCH
Serial Range
1000001 - 9999999
Qty
Price
$3.62

Ref No
7
Part Number
93500-06010-0A
Description
SCREW, PAN (6X10)
Serial Range
1000001 - 9999999

Ref No
8
Part Number
94001-06000-0S
Description
NUT, HEX. (6MM)
Serial Range
1000001 - 9999999

Ref No
8
Part Number
94001-06200-0S
Description
NUT, HEX. (6MM)
Serial Range
1000001 - 9999999
Qty
Price
$1.60

Ref No
9
Part Number
95701-08025-00
Description
BOLT, FLANGE (8X25)
Serial Range
1000001 - 9999999
Qty
Price
$2.18

Ref No
10
Part Number
95701-08028-00
Description
BOLT, FLANGE (8X28)
Serial Range
1000001 - 9999999
Qty
Price
$1.68