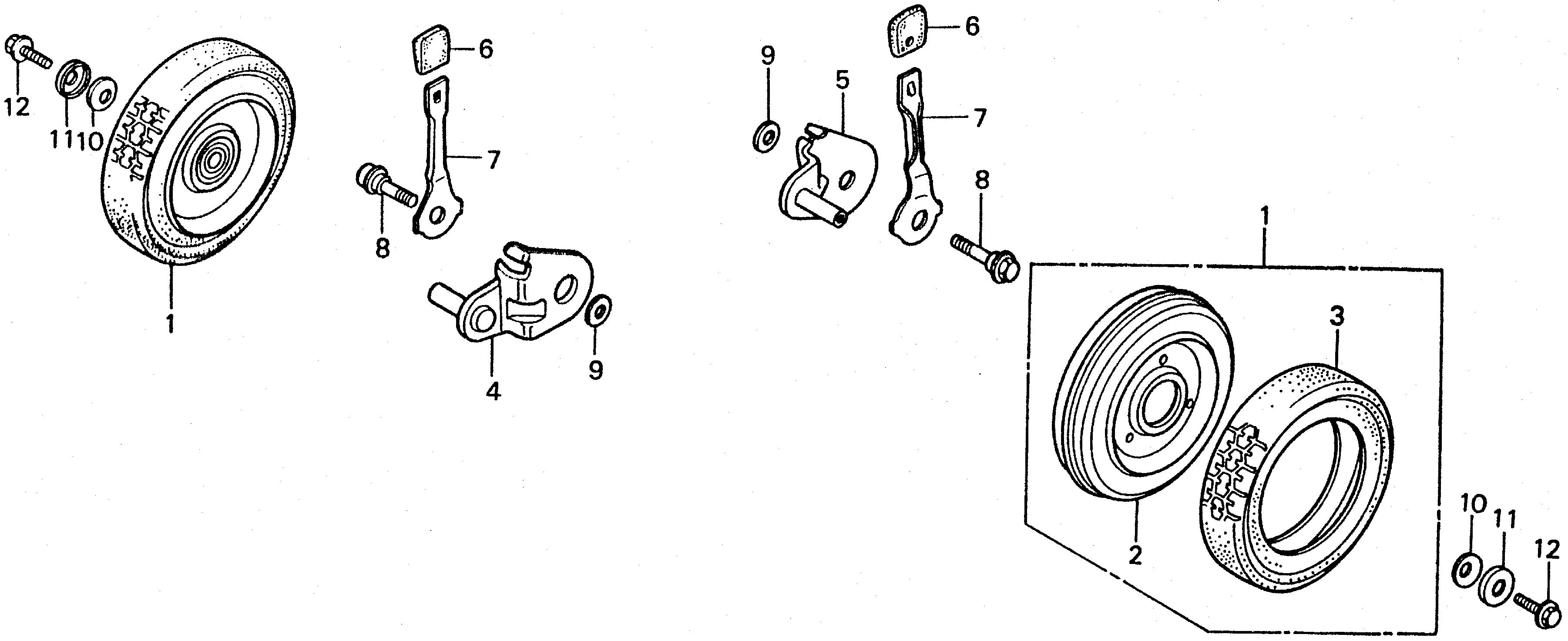
Lawn Mowers HRA HRA21 HRA21 SDA HRA21-1000001-9999999 FRONT WHEEL@FRONT ADJUSTING ARM - Nutter Hardware and Rental

Ref No
Part Number
Description
Serial Range
Qty
Price

Ref No
1
Part Number
42810-963-000
Description
WHEEL (NA USE ALT:06427-960-305)
Serial Range
1000001 - 9999999

Ref No
2
Part Number
42820-963-000
Description
WHEEL, RR. (NOT AVAILABLE)
Serial Range
1000001 - 9999999
Qty
Price
$44.49

Ref No
3
Part Number
42861-963-000
Description
TIRE (8X1.57)
Serial Range
1000001 - 9999999
Qty
Price
$29.64

Ref No
4
Part Number
42911-963-000
Description
ARM, R. FR. ADJUSTING
Serial Range
1000001 - 9999999
Qty
Price
$25.72

Ref No
5
Part Number
42921-963-000
Description
ARM, L. FR. ADJUSTING (NOT AVAILABLE)
Serial Range
1000001 - 9999999

Ref No
6
Part Number
42952-952-000
Description
GRIP, ADJUSTER
Serial Range
1000001 - 9999999
Qty
Price
$5.12

Ref No
7
Part Number
42952-963-000
Description
PLATE, FR. ADJUSTING
Serial Range
1000001 - 9999999
Qty
Price
$15.98

Ref No
8
Part Number
90103-952-000
Description
BOLT, RR. ADJUSTING ARM
Serial Range
1000001 - 9999999
Qty
Price
$5.16

Ref No
9
Part Number
90411-706-000
Description
WASHER (10MM) (NOT AVAILABLE)
Serial Range
1000001 - 9999999

Ref No
10
Part Number
90455-963-000
Description
WASHER, WHEEL (NOT AVAILABLE)
Serial Range
1000001 - 1008013

Ref No
11
Part Number
90535-292-000
Description
WASHER, HANDLE CUSHION
Serial Range
1008014 - 9999999
Qty
Price
$2.60

Ref No
12
Part Number
95701-08012-00
Description
BOLT, FLANGE (8X12)
Serial Range
1008014 - 9999999