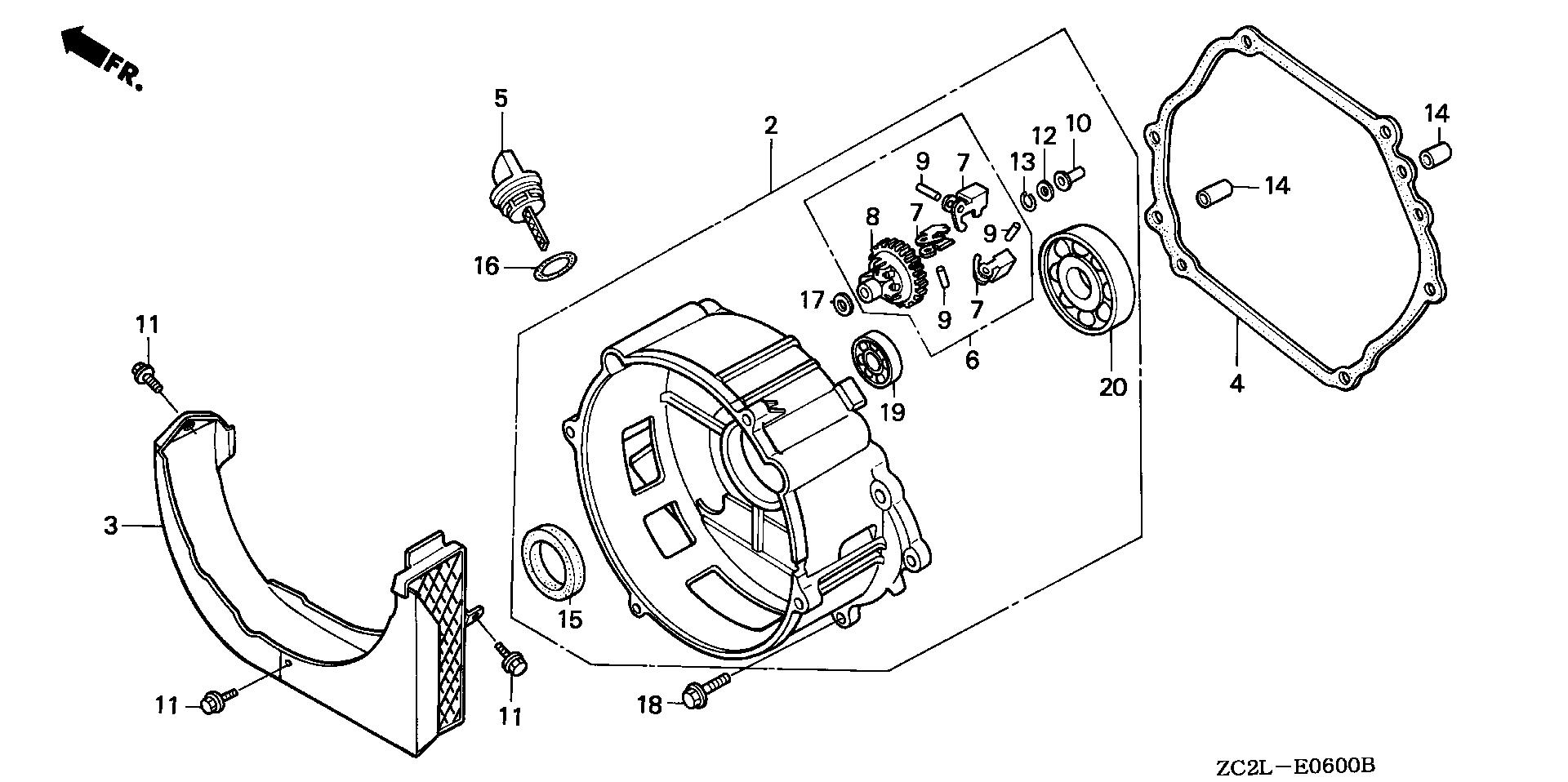
Ref No
Part Number
Description
Serial Range
Qty
Price
Ref No 2
Part Number 11300-ZE3-702
Description COVER ASSY., CRANKCASE
Serial Range 1000001 - 9999999
Ref No 2
Part Number 11300-ZE3-704
Description COVER ASSY., CRANKCASE
Serial Range 1000001 - 9999999
Qty
Price $266.68
Add To Cart
Ref No 3
Part Number 11315-ZE3-700
Description COVER, DUCT
Serial Range 3460755 - 9999999
Ref No 4
Part Number 11381-ZE3-800
Description GASKET, CASE COVER
Serial Range 1000001 - 9999999
Ref No 4
Part Number 11381-ZE3-801
Description GASKET, CASE COVER
Serial Range 1000001 - 9999999
Qty
Price $12.96
Add To Cart
Ref No 5
Part Number 15620-ZE2-700
Description CAP, OIL FILLER
Serial Range 3279759 - 9999999
Qty
Price $8.06
Add To Cart
Ref No 6
Part Number 16510-ZE3-000
Description GOVERNOR ASSY.
Serial Range 1000001 - 9999999
Qty
Price $31.26
Add To Cart
Ref No 7
Part Number 16511-ZE8-000
Description WEIGHT, GOVERNOR
Serial Range 1000001 - 9999999
Qty
Price $7.42
Add To Cart
Ref No 8
Part Number 16512-ZE3-000
Description HOLDER, GOVERNOR WEIGHT
Serial Range 1000001 - 9999999
Qty
Price $18.38
Add To Cart
Ref No 9
Part Number 16513-ZE2-000
Description PIN, GOVERNOR WEIGHT
Serial Range 1000001 - 9999999
Qty
Price $2.16
Add To Cart
Ref No 10
Part Number 16531-Z0A-000
Description SLIDER, GOVERNOR
Serial Range 1000001 - 9999999
Qty
Price $3.62
Add To Cart
Ref No 10
Part Number 16531-ZE2-000
Description SLIDER, GOVERNOR
Serial Range 1000001 - 3460754
Ref No 11
Part Number 90019-883-000
Description BOLT, FLANGE (5X10) (CT200)
Serial Range 1000001 - 9999999
Qty
Price $3.02
Add To Cart
Ref No 13
Part Number 90602-ZE1-000
Description CLIP, GOVERNOR HOLDER
Serial Range 1000001 - 9999999
Qty
Price $1.68
Add To Cart
Ref No 14
Part Number 90701-HC4-000
Description PIN, DOWEL (8X12)
Serial Range 1000001 - 9999999
Qty
Price $3.62
Add To Cart
Ref No 15
Part Number 91201-ZE3-004
Description OIL SEAL (35X52X8)
Serial Range 1000001 - 9999999
Qty
Price $10.62
Add To Cart
Ref No 16
Part Number 91301-805-000
Description O-RING (26X2.7)
Serial Range 1000001 - 9999999
Qty
Price $4.86
Add To Cart
Ref No 17
Part Number 94101-06800
Description WASHER, PLAIN (6MM)
Serial Range 1000001 - 9999999
Qty
Price $0.80
Add To Cart
Ref No 18
Part Number 95701-08040-00
Description BOLT, FLANGE (8X40)
Serial Range 1000001 - 9999999
Ref No 19
Part Number 96100-62020-00
Description BEARING, RADIAL BALL (6202)
Serial Range 1000001 - 9999999
Ref No 20
Part Number 96100-62070-00
Description BEARING, RADIAL BALL (6207)
Serial Range 1000001 - 9999999
Qty
Price $53.28
Add To Cart