Generators EM EM3000 EM3000 A GE300-1000001-9999999 LABELS - Nutter Hardware and Rental

Ref No
Part Number
Description
Serial Range
Qty
Price

Ref No
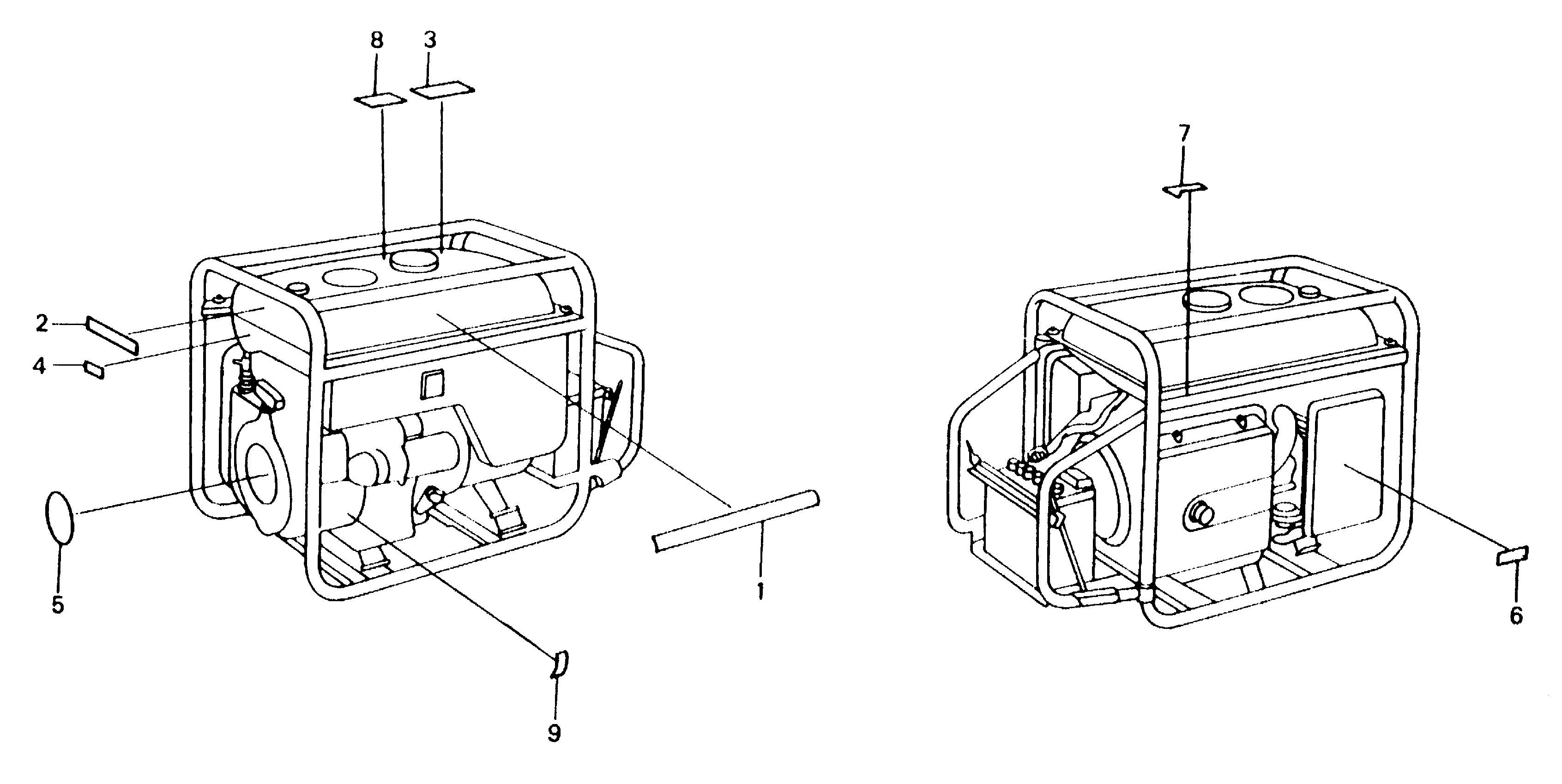
1
Part Number
87101-899-720
Description
EMBLEM (NOT AVAILABLE)
Serial Range
1000001 - 9999999

Ref No
2
Part Number
87150-899-730
Description
PLATE, CAUTION
Serial Range
1000001 - 9999999
Qty
Price
$9.24

Ref No
3
Part Number
87522-883-660
Description
MARK, CAUTION (ENGLISH/FRENCH/SPANISH)
Serial Range
1000001 - 9999999
Qty
Price
$4.86

Ref No
4
Part Number
87528-898-620
Description
MARK, CHOKE
Serial Range
1000001 - 9999999
Qty
Price
$2.14

Ref No
5
Part Number
87530-889-890
Description
LABEL, C.D.I. OIL ALERT (NOT AVAILABLE)
Serial Range
1000001 - 9999999

Ref No
6
Part Number
87533-898-620
Description
MARK, AIR CLEANER (ENGLISH) (NOT AVAILABLE)
Serial Range
1000001 - 9999999

Ref No
7
Part Number
87539-898-620
Description
MARK, EX. CAUTION (ENGLISH/FRENCH)
Serial Range
1000001 - 9999999
Qty
Price
$3.96

Ref No
8
Part Number
87561-880-600
Description
MARK, CAUTION (ENGLISH/FRENCH/SPANISH)
Serial Range
1000001 - 9999999
Qty
Price
$5.40

Ref No
9
Part Number
87594-883-000
Description
MARK, OIL CAUTION
Serial Range
1000001 - 9999999