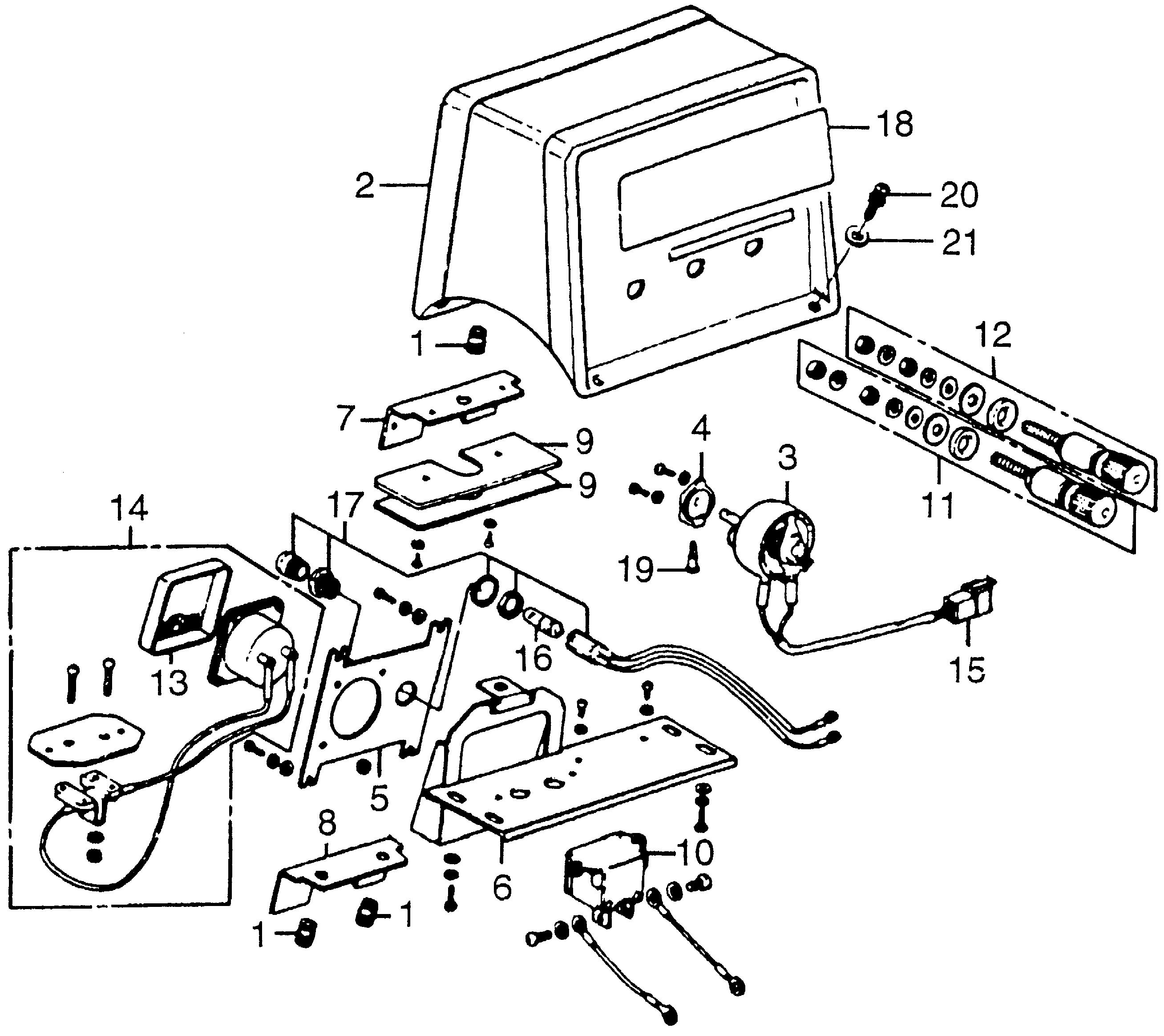
Generators ED ED1000 ED1000 A G200-1000001-9999999 CONTROL BOX - Nutter Hardware and Rental

Ref No
Part Number
Description
Serial Range
Qty
Price

Ref No
1
Part Number
31107-830-168
Description
RUBBER, FRICTION (NOT AVAILABLE)
Serial Range
1000001 - 9999999

Ref No
2
Part Number
31402-872-761H
Description
BOX, CONTROL *R8* (BRIGHT RED)
Serial Range
1000001 - 9999999

Ref No
3
Part Number
31406-872-761
Description
RESISTOR, VARIABLE (NOT AVAILABLE)
Serial Range
1000001 - 9999999

Ref No
4
Part Number
31407-815-158
Description
KNOB, ADJUSTING (NOT AVAILABLE)
Serial Range
1000001 - 9999999

Ref No
5
Part Number
31420-842-158
Description
PANEL, METER
Serial Range
1000001 - 9999999

Ref No
6
Part Number
31421-872-761
Description
BASE ASSY., SETTING
Serial Range
1000001 - 9999999

Ref No
7
Part Number
31422-872-158
Description
STAY A, RUBBER SETTING
Serial Range
1000001 - 9999999

Ref No
8
Part Number
31423-872-158
Description
STAY B, RUBBER SETTING
Serial Range
1000001 - 9999999

Ref No
9
Part Number
31424-872-158
Description
WEIGHT, RUBBER SETTING
Serial Range
1000001 - 9999999

Ref No
10
Part Number
31445-872-761
Description
CONTROLLER, CURRENT (NOT AVAILABLE)
Serial Range
1000001 - 9999999

Ref No
11
Part Number
31468-842-158
Description
TERMINAL A, D.C. (NOT AVAILABLE)
Serial Range
1000001 - 9999999

Ref No
12
Part Number
31469-842-158
Description
TERMINAL B, D.C. (NOT AVAILABLE)
Serial Range
1000001 - 9999999

Ref No
13
Part Number
31499-846-158
Description
LENS, METER
Serial Range
1000001 - 9999999

Ref No
14
Part Number
31511-852-158
Description
VOLTMETER (NOT AVAILABLE)
Serial Range
1000001 - 9999999

Ref No
15
Part Number
32130-611-000
Description
CONNECTOR, MALE (2 POLE)
Serial Range
1000001 - 9999999

Ref No
16
Part Number
34909-880-000
Description
BULB, DASH (24V-2W)
Serial Range
1000001 - 9999999
Qty
Price
$8.34

Ref No
17
Part Number
37561-868-158
Description
SOCKET ASSY., PILOT LAMP (NOT AVAILABLE)
Serial Range
1000001 - 9999999

Ref No
18
Part Number
87551-872-760
Description
PLATE, CAUTION (NOT AVAILABLE)
Serial Range
1000001 - 9999999

Ref No
19
Part Number
90191-815-168
Description
BOLT, KNOB (NOT AVAILABLE)
Serial Range
1000001 - 9999999

Ref No
20
Part Number
93892-05016-08
Description
SCREW-WASHER (5X16)
Serial Range
1000001 - 9999999
Qty
Price
$1.38

Ref No
21
Part Number
94101-05800
Description
WASHER, PLAIN (5MM)
Serial Range
1000001 - 9999999
Qty
Price
$1.20