Generators E E2500 E2500K4 A E2500-2100006-9999999 TOOLS - Nutter Hardware and Rental

Ref No
Part Number
Description
Serial Range
Qty
Price

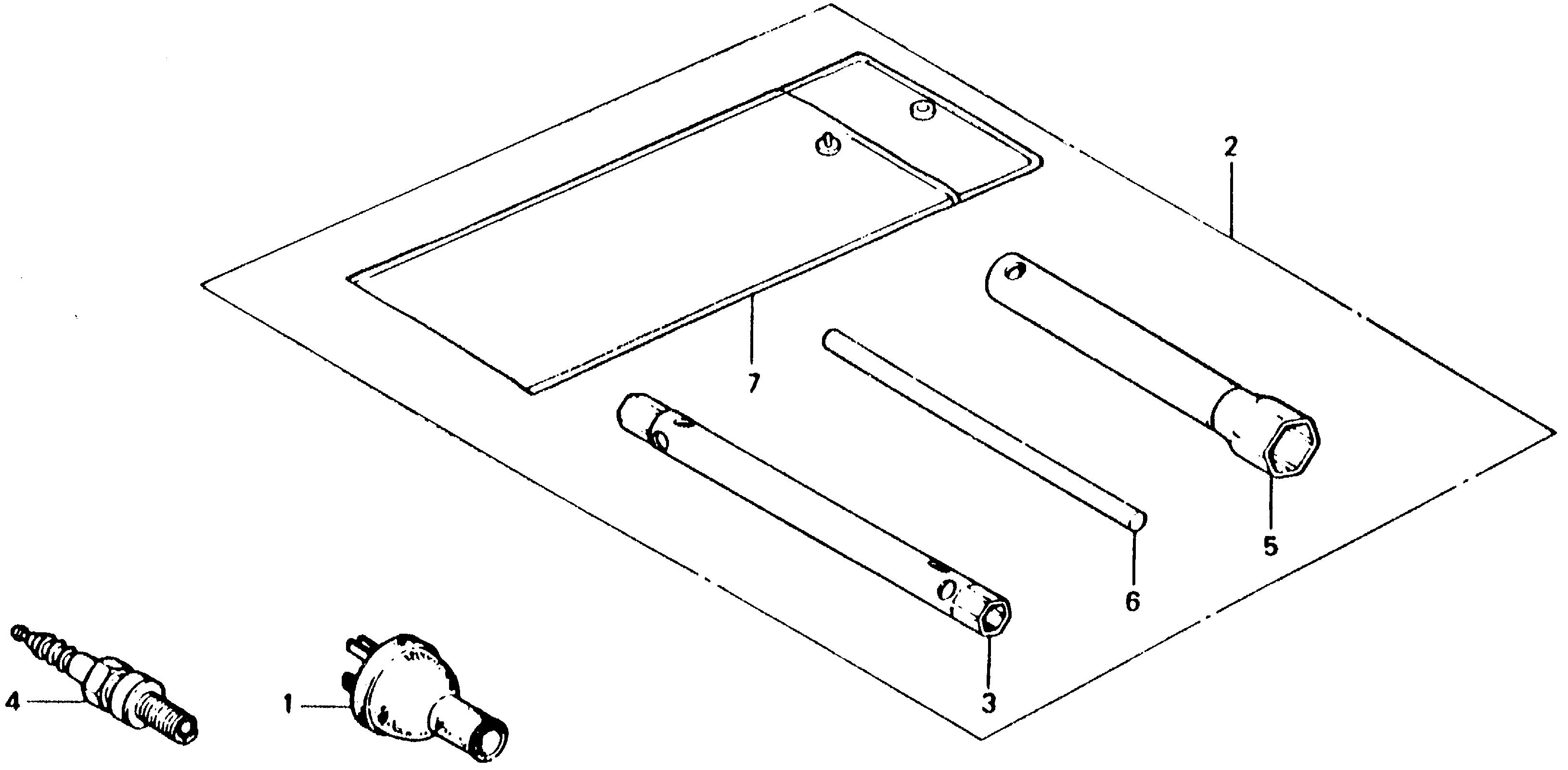
Ref No
1
Part Number
32310-836-100
Description
PLUG (15A/125V)
Serial Range
1000001 - 9999999

Ref No
2
Part Number
89000-877-600
Description
TOOL KIT (NOT AVAILABLE)
Serial Range
1000001 - 9999999

Ref No
3
Part Number
89216-333-000
Description
WRENCH, BOX (10X12) (NOT AVAILABLE)
Serial Range
1000001 - 9999999

Ref No
4
Part Number
98076-54716
Description
SPARK PLUG (BR-4HS) (NGK)
Serial Range
1000001 - 9999999
Qty
Price
$2.98

Ref No
5
Part Number
99004-21003
Description
WRENCH, BOX (P21)
Serial Range
1000001 - 9999999
Qty
Price
$4.98

Ref No
6
Part Number
99005-01000
Description
BAR A, HANDLE
Serial Range
1000001 - 9999999
Qty
Price
$1.54

Ref No
7
Part Number
89101-ME5-670
Description
BAG, TOOL
Serial Range
1000001 - 9999999